|
| |
 |
| |
| |
| •About emitted color |
| |
- EL SHEET is emitting source of uniform surface in plate condition, which can express new and soft light and also, when it is emitted, you can gain display effect even in day time because it can maintain vivid colors.
- Standard luminance condition: 100V / 400Hz |
| |
| STANDARD COLOR |
Symbol |
Standard Brightness(cd/m©÷)
Standard:100V/400HZ |
Features |
| Non-emitted |
Light |
| S. BLUE GREEN |
SBG |
|
60 |
STANDARD COLOR
Non-emitted light color is ivory |
| H. BLUE GREEN |
HBG |
|
72 |
High luminance color to raise SBG contrast luminance by 120%.
Non-emitted light color is weak yellow |
| WHITE |
WH |
|
58 |
White emitted light by mixing the 2nd light pigment,
Weak pink in non-emitted heat |
| A. WHITE |
AWH |
|
41 |
White coated with milky color
Color in non-emitted light is near to white |
| BLUE |
NBL |
|
27 |
Dark blue |
| GREEN |
NGR |
|
30 |
Color having transparence just like emerald |
| LIVE GREEN |
NLG |
|
55 |
Much brighter dark green color |
| YELLOW-GREEN |
NYG |
|
60 |
The brightest color
Yellow in non-emitted |
| YELLOW |
NYL |
|
53 |
Color is near to bright lemon color |
| ORANGE-YELLOW |
NOY |
|
50 |
It is near to gold color |
| ORANG |
NOR |
|
37 |
Orange color is near to grapefruit color |
| RED |
NRD |
|
18 |
Red color series are shown brighter than the value that you can see by naked eyes |
| PINK |
NPK |
|
18 |
Stable PINK |
| PINK |
NPP |
|
37 |
Cheerful pink having high using rate |
| LAVENDER |
NLA |
|
16 |
Celadon green
Fancy color, red color in non-emitted |
·Because of reflected light in bright space, its unique emitted light color and in emitted light color are mixed and shown.
·There may be difference between monitor¡¯s display color and real color/emitted light color. |
|
|
| |
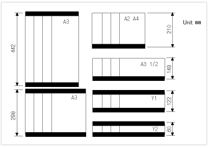
| • EL SHEET SIZE |
| |
| |
·Currently, we prepare 7 kinds of standard products like the below figure
·A4 and A5 partition A3 and Y1 partitions Y2 |
| |
| |
| |
· Each shape's dimensions |
| Shape |
Dimensions
(mm) |
Emission measurements(mm) |
Emitting area(cm©÷) |
Reference |
| A2 |
435 * 609 |
422 * 596 |
2515.1 |
Its thickness is 0.25mm including silver boot bar |
| A3 |
433 * 310 |
421 * 298 |
1254.5 |
| A4 |
216.5 * 310 |
210.5 * 298 |
627.2 |
| A5L / R |
216.5 * 155 |
210.5 *149 |
313.6 |
| Y1 |
415 * 135 |
402 * 122 |
490.4 |
| Y2 |
415 * 67.5 |
402 * 61 |
245.2 |
|
|
|
|
|
| |
| • Rear of the configuration |
|
|
| |
| •Silver boot bar¡¯s function |
| |
| |
- EL Sheet emits light between surface transparent electrode surface and rear side carbon layer, which shows large resistance on both electrode surfaces. |
| Therefore, silver paste scatters current density from input contact by attaching silver paste on each outside. |
 |
- Although EL Sheet is cut, it is better to leave silver boot bar long.
- Especially, silver boot bar on external surface transparent electrode is important and if it is damaged, EL¡¯s function is also lost.
- Because protection layer does not have insulating function, please be careful of materials to be able to generate electric shock. |
| |
|
|
|
| |
| •Smaller size than standard sheet |
| |
| |
- When you need smaller size than 6 TYPE explained previously, you can cut and use A2, A3, A4, Y1, and Y2. |
 |
| - When electrode is situated at just one side, it may be heated through increase of current density. |
| |
|
|
|
|
| |
|
|
|